界面新闻记者 | 宋佳楠
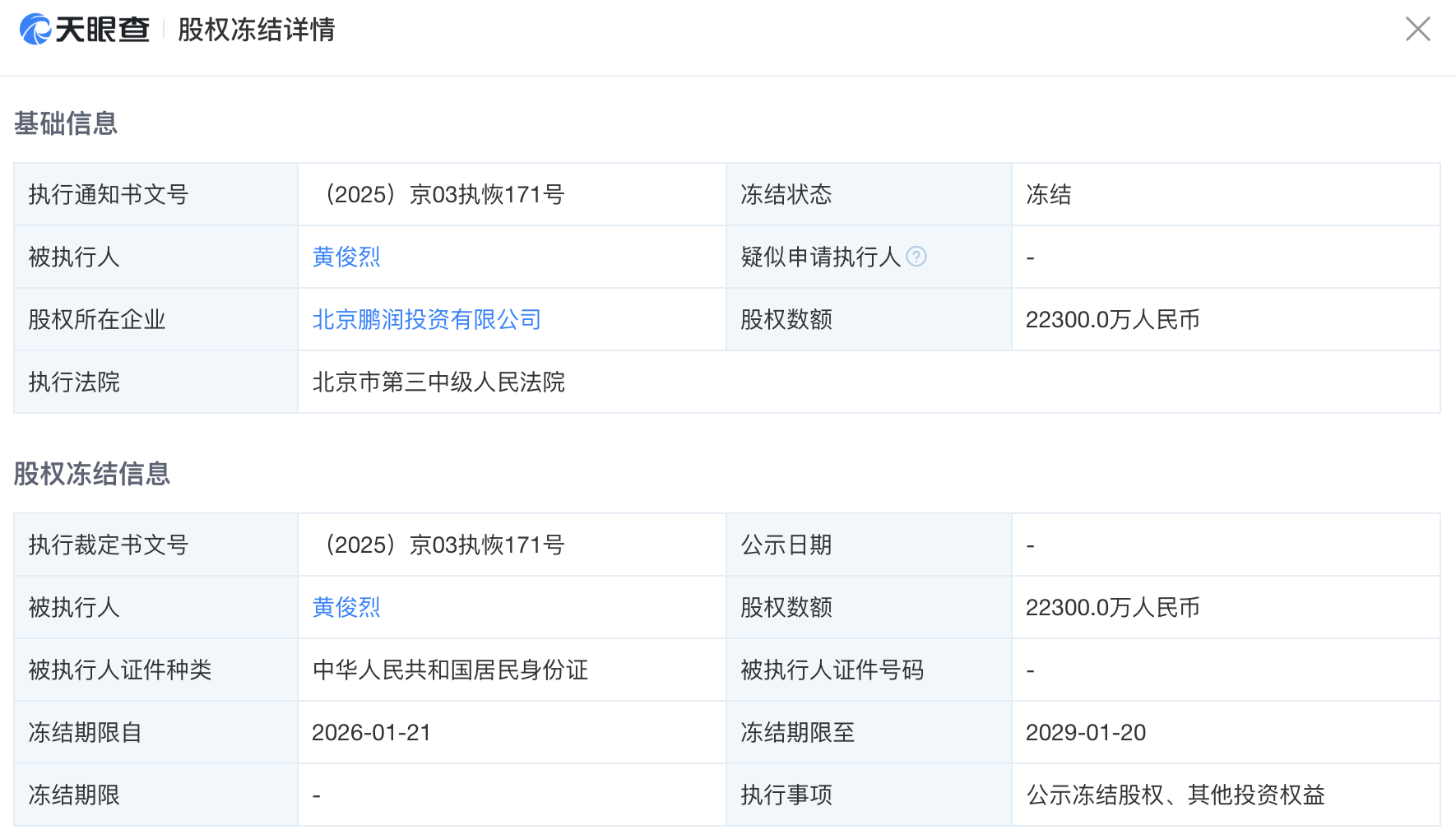
界面新闻从天眼查网站获悉,近日,黄光裕(黄俊烈)新增一则股权冻结信息,股权所在企业为北京鹏润投资有限公司,冻结股权数额2.23亿人民币,冻结期限自2026年1月21日至2029年1月20日,执行法院为北京市第三中级人民法院。

北京鹏润投资有限公司成立于1997年,注册资本2.7亿元,由黄光裕与北京英格润美咨询有限公司共同持股,是国美系资本运作的中枢平台。该公司曾主导国美零售(00493.HK)、中关村(000931.SZ)等上市公司的资本整合,并涉足新能源、地产等领域,持有北京国美氢能科技有限公司80%股权。

界面新闻注意到,黄光裕旗下核心资产此前已多次被冻结,意味着其资本运作空间进一步受限。
2023年2月,黄光裕控制的国美零售附属公司股权被冻结,冻结股权数额合计超5.9亿人民币,冻结期限自2023年2月16日至2026年2月16日。当时国美零售回应称,冻结不会对公司财务状况和经营产生重大影响。同年5月,国美零售有限公司的股权又被广州市天河区人民法院冻结,冻结数额为5504万余元。
而在2025年10月,中关村(国美系A股核心平台)公告称,控股股东国美控股集团有限公司及一致行动人国美电器有限公司持有的部分股份被延长司法冻结期限,另有部分股份轮候冻结生效。截至2025年10月,国美控股与国美电器合计持有中关村31.35%股份,其中超七成(占总股份22.96%)处于冻结或轮候冻结状态。
国美曾是国内家电零售行业的龙头企业,自黄光裕2021年正式回归后,该公司便开启了多轮转型尝试,从发力线上新零售到布局社区团购、探索家电租赁,再到尝试直播带货、进军即时零售、涉足汽车销售和氢能市场等,转型方向覆盖线上线下多个领域。但多次调整均未形成稳定的盈利模式,转型成效未达市场预期。
目前国美仍维持着核心的家电零售主业运转,线下核心门店仍在正常经营,线上国美APP也保持商品销售与服务功能的基本运作,但整体业务规模较行业巅峰时期已大幅收缩,经营状况持续恶化。
根据国美零售2024年年报,公司全年实现营收4.74亿元,同比下滑26.7%;亏损规模进一步扩大至116.29亿元,较2023年增长15.63%。
资本市场对国美转型反应冷淡。国美零售股价长期徘徊在0.1-0.3港元区间,2025年累计跌幅达67%,市值较2015年巅峰缩水超90%。
截至今日港股收盘,国美股价报收0.016港元,总市值仅7.66亿港元。



发表评论
2026-02-10 02:39:22回复
2026-02-10 00:59:14回复
2026-02-09 20:36:42回复
2026-02-10 03:03:12回复
2026-02-10 01:46:57回复